| 
 | 
阿里云免登
腾讯云免登
 | 
 | 
有问必答
帮助中心
 | 
备案服务
 | 
独立后台
付款方式
 | 
网站管理
您好,欢迎来到五叶草互联,让云服务更有价值,提供有温度的服务。
商城提现流程操作

功能:用于会员赚取佣金提现及余额变现的操作方式。

商城提现分两种:余额提现及佣金提现

提现方式分为:微信提现(无需审核自动提现到微信钱包)及支付宝、银行卡提现(需手动审核,并手动线下退给会员)


一、网站后台提现设置

路径:财务——提现设置


二、佣金提现

例:当推荐下级用户购买产品,推荐人获得待审核佣金。平台需到后台审核佣金。

注:以订单状态为“交易完成”日期再加上“可申请退款期”后,才能显示审核按钮作审核

查看交易状态路径:订单—订单管理—状态查看

查看可申请退款期路径:设置—商城设置—退款设置—退款有效期


a.佣金审核

分销员佣金审核路径:分销——佣金审核



代理及店铺佣金审核路径:O2O——佣金审核


b.审核通过后,用户在手机端发起提现

路径:手机端会员中心——分销中心——申请提现

填写提现金额——提现方式

        





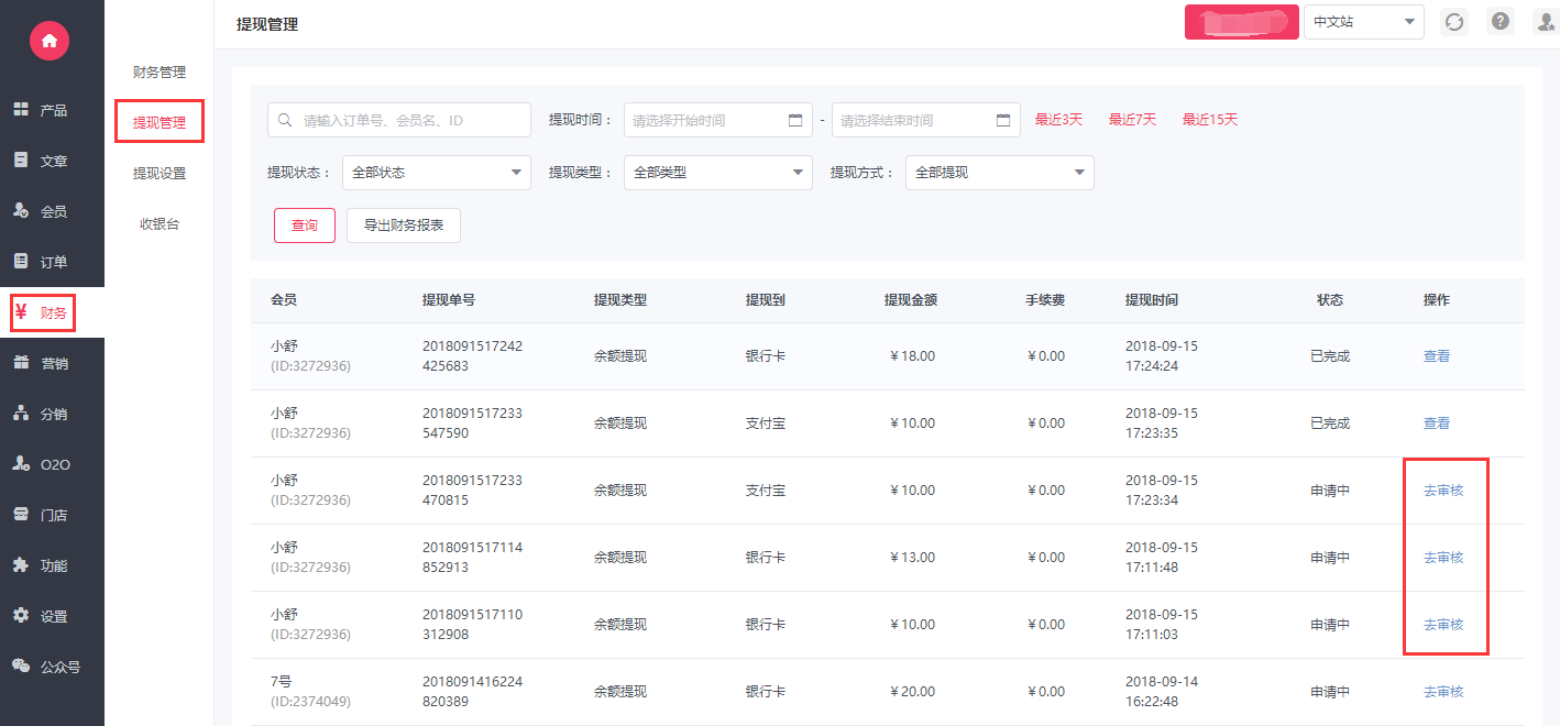
C.提现审核 (如微信提现则不需审核,支付宝及银行卡需审核并线下转给会员)

路径:财务——提现管理——对应发起提现用户——去审核


显示发起提现人的提现方式相关资料,确定线下已付款给用户时,请选择已完成。


三、余额提现

a.用户有足够余额,并发起提现

路径:手机端会员中心——点余额——提现

填写金额及提现方式

        



b.提现审核 (如微信提现则不需审核,支付宝及银行卡需审核并线下转给会员)

路径:网站后台财务——提现管理——对应发起提现用户——去审核

显示发起提现人的提现方式相关资料,确定线下已付款给用户时,请选择已完成。


常见问题:

为什么微信提现不成功?

一.微信提现需要到商户平台——产品中心——开通企业付款到零钱

企业付款到零钱需要符合下列条件才会出现在产品中心

开通条件:

1、商户号(或同主体其他商户号)已入驻90日

2、商户号(或同主体其他商户号)有30天连续正常交易,必须是连续,哪怕每天进账一分钱也算


二.需到商户平台冲值足够的运营帐户资金才能付款到用户